Беспроводная зарядка для электромотоциклов предложена BMW - «Технологии»
Ранее немецкий автопроизводитель уже предлагал свое решение для зарядки транспортных средств «по воздуху», но тогда речь шла об электромобилях. Сейчас же BMW хочет расширить его применение.
Новая разработка компании может принципиально изменить схему зарядки электрических мотоциклов, которые до сих пор восполняли запас энергии по проводам точно так же, как электрокары: мотоциклист спешивался и подключал кабель в зарядный разъем транспортного средства.
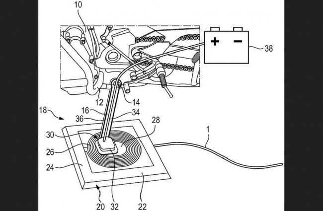
Инженеры BMW предлагают запустить процесс зарядки мотоцикла с того момента, как он поставлен на парковочное место. Для автомобилей такая задача тоже актуальна, но для нее пока не придумали действенного решения. Если же посмотреть на патентный чертеж BMW, становится понятно, что беспроводная зарядка осуществляется посредством единственного нерезинового элемента конструкции мотоцикла, который контактирует с землей, - за счет боковой подножки.
BMW предлагает разместить приемник зарядного устройства в боковой стойке, чтобы пополнение батареи начиналось, когда водитель ставит мотоцикл на упор на платформу беспроводной зарядки с катушкой переменного тока. Беспроводная зарядка работает с максимальным эффектом при минимальном расстоянии от устройства до ресивера, и предложенное инженерами решение обеспечивает оптимальный контакт.
Пока трудно сказать, насколько быстрым будет восполнение запаса энергии через такую схему, так как некоторым мотоциклам требуется целая ночь, а другим – только несколько часов на полную зарядку. Например, модели Harley-Davidson LiveWire или Lightning Strike посредством подачи постоянного тока заряжаются всего за сорок минут. Маловероятно, что предложенная инженерами BMW система сможет достигнуть такой скорости в обозримом будущем.
Источник: bennetts.co.uk
И будьте в курсе первыми!
