Снимай и фотографируй: OPPO запатентовала смартфон со съёмной камерой - «Смартфоны»
На сайте Всемирной организации интеллектуальной собственности (World Intellectual Property Organization, WIPO) появилось описание нового запатентованного устройства компании OPPO.
Что это
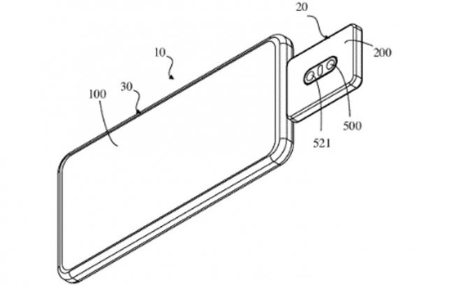
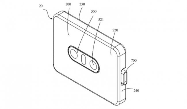
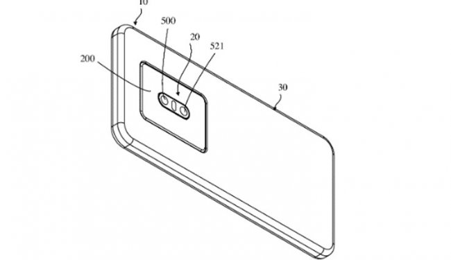
Это смартфон с модульной камерой. То есть камера сделана в виде отдельного блока, который в любой момент можно достать и использовать автономно. В результате камера выполняет роль и основной, и фронтальной.
По задумке, получается что-то вроде action-камеры. Причем блок поддерживает Wi-Fi и Bluetooth, имеет собственный чип NFC и встроенный аккумулятор для автономной работы. Также предусмотрен порт USB-C.
На патентных изображениях показана камера с двумя датчиками и вспышкой, но модулей может быть разное количество. Кроме того, по идее, камеру в любой момент можно будет заменить на другую, более продвинутую, с бОльшим количеством датчиков. Также модульная конструкция облегчает ремонт.
Естественно, пока это всего лишь патент, и непонятно, воплотит ли OPPO эту идею в жизнь. Но у Vivo уже есть подобный концептуальный смартфон IFEA с съемной камерой, которая крепится к корпусу с помощью магнитного соединения.
Источник: 91mobiles
И будьте в курсе первыми!


